
Design and manufacturing:API 6D, GB/T 12237
The structural length:GB/T 12221
Connection forms:HG/T 20592-20605, GB/T 9112-9124
Inspection and test:GB/T 13927
Caliber: 1/2″ ~ 48″ (DN15 ~ DN1200)
Pressure temporature level:GB/T 12224, ASME B16.34
Drive mode:Worm Gear
Pressure: PN16 ~ PN25
Operating Mechanism (Drive Mode):
Worm Gear Operated (TG221)
Materials
• Body: Carbon Steel (A105), Stainless Steel (304, 316), or Alloy Steel
• Ball: Stainless Steel (304, 316)
• Seals: PTFE, RPTFE, Metal-to-Metal (for high temperature applications)
• Stem: Stainless Steel
Certifications
• Compliance: API 6D, ISO 9001, CE, PED, and other international standards.
The valve consists of a fully welded body and a carbon-reinforced PTFE sealing seat, designed for frequent operation in complex and chemically aggressive environments. The precision-ground stainless steel ball ensures long-term reliable service with consistent sealing performance over years of operation.
A floating ball design is employed, with a beveled spring washer ensuring that the seal ring is always tightly pressed against the ball. This maintains tight shut-off even under fluctuating pressure conditions.
To prevent stem leakage, the valve features a dual O-ring sealing structure around the stem, ensuring smooth rotation while maintaining a secure, leak-proof seal.
— Maintenance-free, self-adjusting, and low-friction design makes installation easy and ensures long-term, reliable performance with minimal operating cost.
— The operating handle is detachable and reversible for flexible installation.
— The valve body contains no heavy or unreliable cast components.
— Simple installation and adjustment mechanism for quick commissioning.
— Optional extended stem design facilitates insulation in buried or elevated applications.
| No. | Part Name | Material Type | Material Grade | No. | Part Name | Material Type | Material Grade |
|---|---|---|---|---|---|---|---|
| 1 | Body | Carbon Steel | ST37.8 | 7 | Support | Stainless Steel | — |
| 2 | Stem Chamber | Carbon Steel | Fe52DP | 8 | Screw | Steel | — |
| 3 | Ball | Stainless Steel | AISI 304 | 9 | O-Sealing Ring | Synthetic Rubber | FPM |
| 4 | Stem | Stainless Steel | AISI 303 | 10 | Gasket | Teflon | PTFE |
| 5 | Seal Ring | Teflon | PTFE | 11 | Floor Clip | Cast Steel | AISI 304 |
| 6 | Bevel Washer | Spring Steel | — | 12 | Handle | Galvanized Steel | — |

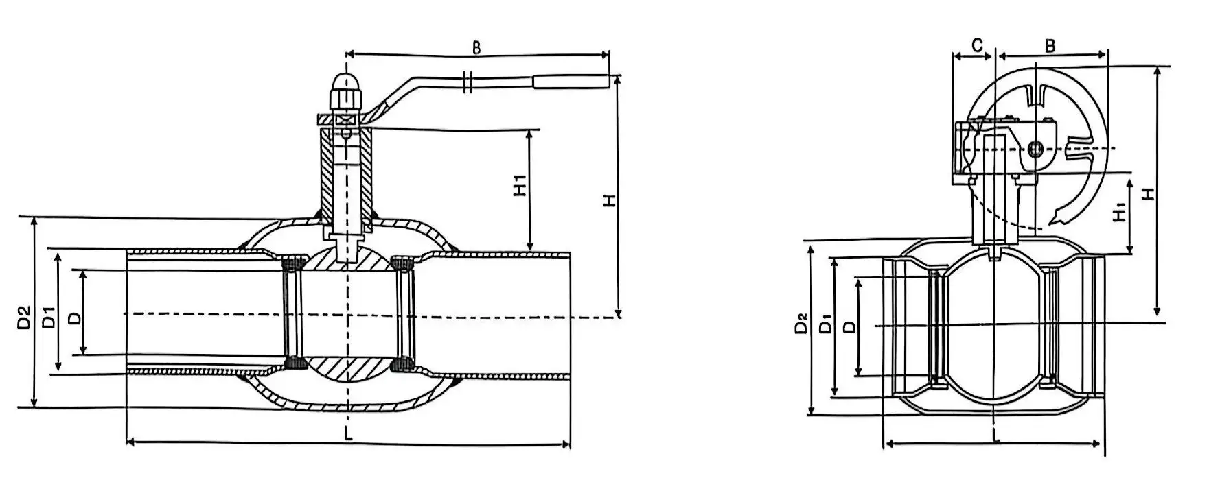
| DN | PN | L | D | D1 | D2 | H | B | C | H1 |
|---|---|---|---|---|---|---|---|---|---|
| 10 | 16 25 40 | 230 | 10 | 17.2 | 33.7 | 98 | 145 | 22 | |
| 15 | 230 | 10 | 21.3 | 33.7 | 98 | 145 | 22 | ||
| 20 | 230 | 15 | 26.9 | 42.4 | 103 | 145 | 23 | ||
| 25 | 230 | 20 | 33.7 | 48.3 | 118 | 145 | 34 | ||
| 32 | 260 | 25 | 42.4 | 60.3 | 121 | 145 | 33 | ||
| 40 | 260 | 32 | 48.3 | 76.1 | 120 | 190 | 43 | ||
| 50 | 300 | 40 | 60.3 | 88.9 | 127 | 190 | 44 | ||
| 65 | 300 | 50 | 76.1 | 114.3 | 170 | 280 | 71 | ||
| 80 | 300 | 65 | 88.9 | 139.7 | 185 | 280 | 77 | ||
| 100 | 16 25 | 325 | 80 | 114.3 | 168.3 | 210 | 280 | 102 | |
| 125 | 325 | 100 | 139.7 | 177.8 | 253 | 400 | 101 | ||
| 150 | 350 | 125 | 168.3 | 219.1 | 273 | 600 | 107 | ||
| 200 | 400 | 150 | 219.1 | 273 | 315 | 900 | 123 | ||
| 250 | 530 | 200 | 273 | 355.6 | 398 | 1200 | 122 | ||
| 300 | 550 | 250 | 323.9 | 457 | 465 | 280 | 193 | 155 | |
| 350 | 650 | 300 | 355.6 | 508 | 530 | 325 | 150 | 187 | |
| 400 | 760 | 350 | 406.4 | 610 | 530 | 466 | 175 | 221 | |
| 500 | 914 | 400 | 508 | 680 | 630 | 466 | 175 | 211 | |
| 600 | 1067 | 500 | 610 | 830 | 762 | 466 | 175 | 259 | |
| 700 | 1346 | 590 | 711 | 982 | 830 | 507 | |||
| 800 | 1524 | 690 | 813 | 1086 | 910 | 624 | |||
| 900 | 1727 | 790 | 914 | 1245 | 1025 | 844 | |||
| 1000 | 1750 | 890 | 1016 | 1394 | 1165 | 881 | |||
| 1200 | 2050 | 1190 | 1219 | 1576 | 1289 | 1092 |
Applications:
o Oil and Gas Pipelines
o Natural Gas Transmission
o City Gas Distribution
o Petrochemical Industry
o Heat Supply Systems
o Water Systems (including buried installations)
Discover our premium valve solutions and boost your efficiency. Contact
us now to find out how we can support your needs with top-quality
products and exceptional service.
0577—86938599
© Tang Gong Valve Group. All Rights Reserved.